注册
 找回密码
 注册

RSS 宠物资讯

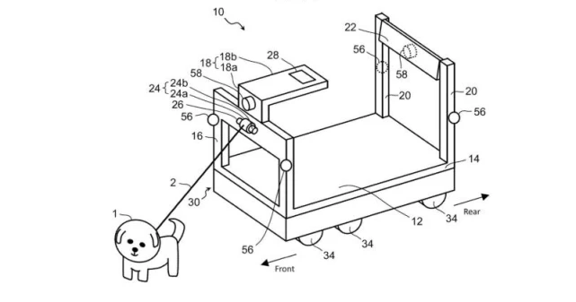
  • 养宠物的福音?丰田竟然“跨界”玩起遛狗车
    国营 342 1 2022-4-14 14:46
    作为传统汽车市场的头部车企,丰田在不少消费者心目中一直都是工匠严谨的形象,但它最近发布的一款全新专利—遛狗车(机器人),却让人有些猝不及防,Emm,满足了人类出行需求后,丰田这是要“跨界”解决动物出行的……
  • 乌龟探头想吸引顾客,不料坚持太久,头部立马瘫软下来!
    育才曾诗伟 1043 1 2022-4-14 12:48
    网友去海鲜市场买海鲜,结果在这个摊位前看到一只特别的乌龟,别的乌龟都在水里面,而一只乌龟把龟头伸到水面上,并且还伸的很长,这是想要干嘛,没人知道。这只乌龟的头伸的可真是够直的,你这样特别的站起来,你是……
  • 边牧专栏丨提高边境牧羊犬胆量的几个方法
    老君 859 0 2022-4-14 12:37
    一、原则无论发生什么让犬害怕的事,犬主总要和犬在一起,不让它受伤害和过度惊吓。主人制造的刺激要从小开始,量不要让它产生恐惧,让它慢慢适应这种刺激。如果主人不小心刺激过度,应立即停止或是减少刺激度,在它……
  • 4月12日,俄乌关系新消息,俄军向乌克兰西部发起攻击
    西贝勒 575 0 2022-4-14 12:30
    俄罗斯和乌克兰之间发生冲突的最新消息,北约秘书长在3月16日警告说,如果俄罗斯攻击北约不给车队装备,就等于向北约宣战。琦在接受加拿大广播公司采访时说,北约国家有权向乌克兰提供自卫设备。俄罗斯不能错误判断……
  • 半个朋友圈都在玩的“微信农场”,画风逐渐跑偏~
    张万清 779 1 2022-4-14 09:58
    不少网友发现微信状态现在有农场了大家可以在朋友圈养小动物了有人海边溜猪有人在竹林里养起国宝有人养可爱狗狗有人云养鸭嘎嘎嘎嘎嘎~最近的“文艺复兴”实现(强行)在朋友圈养小动物!就可以轻松get农场同款啦~玩……
  • 辽宁一男子隔离在外20多天后回家,推开门傻眼了:房间一片狼藉
    文明社会 587 2 2022-4-14 09:54
    辽宁一男子因疫情在外面隔离了20多天后,近日迫不及待地赶回家中,可没有想到等他打开门后,却直接傻眼了:家里变成了一片废墟。据悉,男子当时是因为外出装修,不料因为突如其来疫情的影响,被隔离到外面20多天。而……
  • 宠物蛇越“狱”躲进厨房 青岛消防员10分钟捕蛇归笼
    不懂装知道 746 0 2022-4-14 09:09
    齐鲁网·资讯4月13日讯 近年来,人们选择的宠物种类越来越多,但由于主人的养宠经验不同,对宠物的看管程度也不同,导致很多棘手又危险的情况发生。4月11日青岛市即墨区消防救援大队指挥中心接到报警称:位于潮……
  • 王茜:嫁大23岁导演,结婚9年丈夫去世后,用7年完成他的遗愿
    没事儿也乐呵 1031 1 2022-4-14 07:08
    年少时遇到太惊艳的人,就是温柔了岁月,温暖了人生。虽然如今的婚姻总是让人感到疲惫和不满,但是这世上还是有很多真心相爱的人彼此陪伴一生的。王茜就遇到了守护她一生的人,可是上天总是留遗憾在人间,往往甜蜜的……
  • 橘猫被遗弃的理由很奇葩,因为太胖太能吃,幸好遇到好心网友……
    沧海风云 777 0 2022-4-14 06:55
    网友在回家路上,突然被一只橘猪碰瓷,主动蹭蹭求撸撸,灰常亲人...一看它就不是流浪猫啦,可能是走丢的娇生惯养的主人心肝宝贝,而网友问遍了附近的邻居,都表示没有丢猫...网友担心喵主人着急,就带去医院查看芯片……
  • “发育宝”下架涉事猫粮,公开道歉!
    吴爷吉祥 342 0 2022-4-14 06:53
    近日,有消费者反映,180余只小猫在食用信元发育宝猫粮后出现不良反应。近百只宠物猫在食用同批次猫粮后死亡北京的徐女士是受害猫主人之一,她讲述了自家宠物猫食用发育宝猫粮后从发病到死亡的过程。12月11日徐女士……
  • 深山偶遇小流浪狗,为求收养跟人数公里,好心人被它的执着感动
    黑米 472 3 2022-4-14 06:40
    作为一名宠物博主,笔者一直在提倡“领养代替购买”,一方面是希望大家能给流浪毛孩一个机会,让它们能拥有一个温暖的归宿。另一方面,我觉得,流浪狗和品种犬相比,真的一点都不差!它们聪明机智,有恒心有毅力,甚……
  • 歌唱家叶佩英离世,友人公开去世细节,摔倒在厕所导致颅内出血
    聖明 450 2 2022-4-14 06:24
    《我爱你,中国》演唱者叶佩英,摔倒在厕所后离开了这个世界,享年87岁。当时叶佩英一个人在家中,女儿联系不到自己的母亲,非常着急拨打了叶佩英丈夫的电话。最终小区管理人员破门而入,最终在厕所发现了倒下的她,……
  • 主人在城里买房,狗狗被迫回归自然,全身只剩骨头,可怜兮兮
    来临 340 1 2022-4-14 03:58
    养狗是一件外门槛很低,但内门槛很高的事情。外门槛很低是因为养狗不需要考证,也不用去申请什么证件,只要你想养,花点钱就能从各种渠道上购买到宠物。而门槛高是因为养狗是一辈子的事情,狗狗寿命大概在10年-15年……
  • 残疾小狗坐轮椅晒太阳遭路过男子殴打 警方:正在寻找该男子
    冬天的棉花糖 364 15 2022-4-14 01:57
    近日,安徽合肥一段男子摔打残疾小狗的视频在网上热传。视频中,一只坐轮椅的小狗被一名男子来回摔打,场面令人十分揪心。4月12日,视频发布者高女士告诉北京青年报记者,小狗被打后已逐渐康复。4月13日北青报记者从……
  • 流浪猫掉入河道不停叫唤,男子自制纸箱救援:谢谢你,好心人
    记忆里模糊的小时候 405 0 2022-4-13 21:52
    如果你遇到需要帮助的流浪猫,你会出手相救吗?很多时候,有些人嫌麻烦会选择视而不见。但说到底,流浪猫也是无辜的生命,不是吗?流浪猫掉入河道无助哀叫“喵喵喵~”,路旁的河道里传来一阵阵猫咪无助的叫声。不知……

精彩阅读

更多+

广告位

QQ| Archiver|手机版|小黑屋| 被宠 ( 浙ICP备2020032133号-4 )

Powered by 被宠 X3.5 Licensed© 2019-2021 Comsenz Inc. Templated By 乐清轨迹网络科技有限公司

返回顶部